플레이어가 게임에서 멈췄을 때 스스로 게임을 플레이하는 PlayStation AI 특허

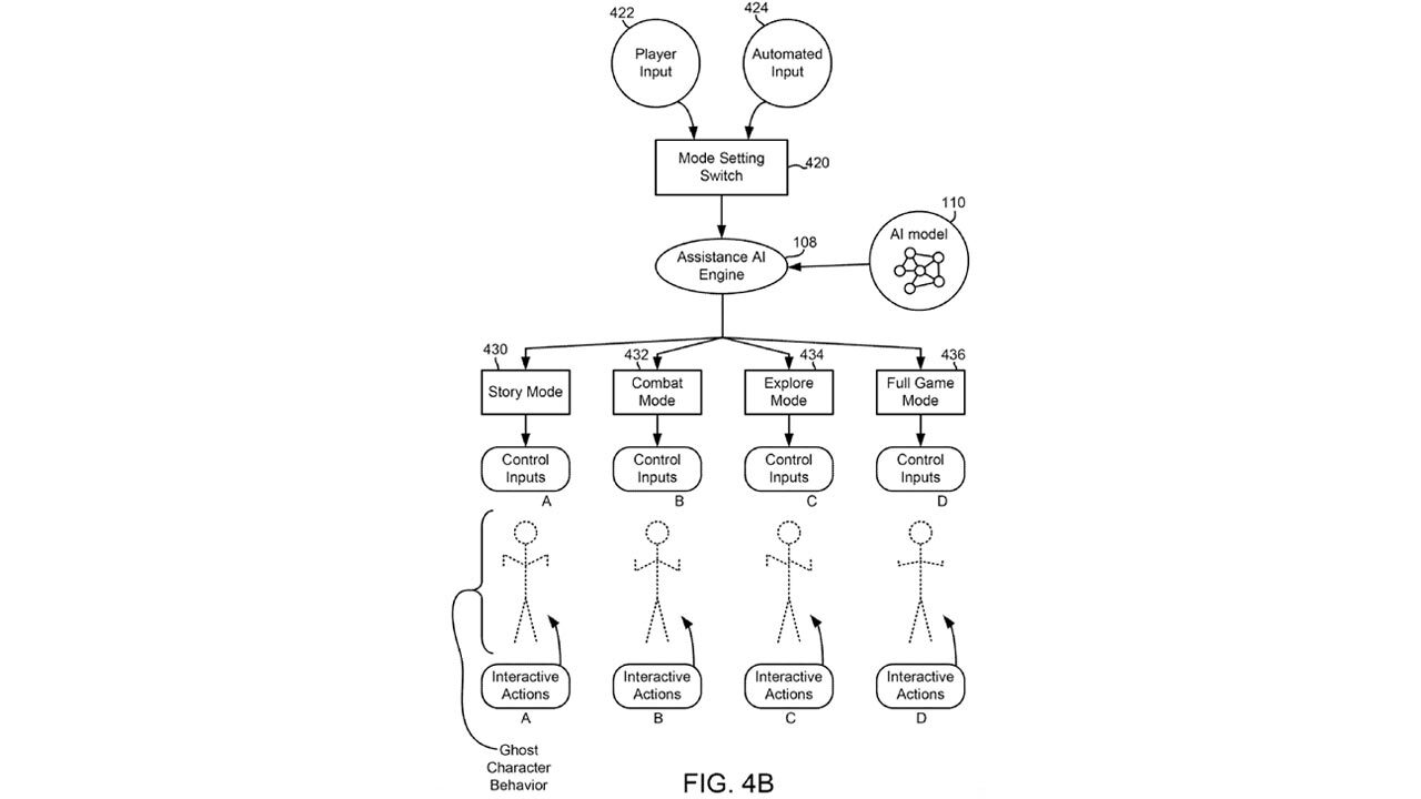
소니는 게임을 플레이하는 데 어려움을 겪고 있는 플레이어를 위해 인공지능이 게임을 대신할 수 있는 특허 문서를 출원했습니다. 문서에 따르면 이 '고스트 지원'은 언제든지 활성화되어 플레이어의 게임 진행을 안내하거나 게임 플레이를 직접 제어할 수 있습니다.
2024년 9월에 처음 출원된 특허 문서에서 드러난 바와 같이, AI 지원 시스템은 플레이어가 어려움을 겪고 있는 게임 구간을 플레이하여 플레이어를 대신하여 게임을 완료할 수 있습니다. 소니는 "게임을 플레이한 많은 사용자의 영상"과 게임 플레이 영상이 업로드된 다양한 온라인 소스를 사용하여 AI 에이전트를 훈련시키는 아이디어를 설명합니다.

지난 몇 년 동안 소니는 비디오 게임을 더 친근하게 만들기 위해 여러 가지 기능을 개발해 왔습니다. PS5 콘솔에는 게임 플레이 중에 즉시 불러올 수 있는 짧은 동영상과 이미지를 통해 유용한 팁과 요령을 제공하는 게임 도움말 시스템이 출시되었습니다. 개발자들이 이 기능을 널리 채택하지는 않았지만, 채택한 게임에는 여전히 유용한 기능입니다.
소니는 또한 몇몇 퍼스트 파티 게임의 접근성 옵션을 확장했으며, 갓 오브 워 라그나로크와 호라이즌 포비든 웨스트 같은 다른 타이틀은 주인공의 사색이나 주변 NPC가 끊임없이 조언을 제공하는 등 플레이어에게 지나치게 많은 도움을 제공한다는 비판을 받기도 했습니다. Microsoft도 자체 AI 기반 비서를 통해 이 분야에서 실험을 진행하고 있습니다. 작년에 공개된 게이밍 코파일럿은 도움말, 추천 및 기타 게임 내 지원을 제공하도록 설계되었습니다.
다음 콘텐츠
Asus가 새로운 확장 현실 안경 세트를 선보이며 소비자 가전 박람회 전시장에 등장했습니다. Xreal과의 파트너십을 통해 개발된 Asus RO...
8BitDo는 CES 2026에서 차세대 플래그십 얼티밋 컨트롤러 시리즈를 공개했는데, 이제 이 제조업체가 왜 얼티밋 2의 Xbox 버전을 출시하...
8BitDo의 닌텐도 스위치 1/2, PC, Xbox 콘솔용 올 버튼 아케이드 컨트롤러가 아마존에서 파격적인 가격에 판매되고 있습니다. 레트로풍...
헤일로 팬들은 비디오 게임 시리즈를 테마로 한 다양한 공식 라이선스 메가 블록 조립 세트를 기간 한정으로 할인된 가격에 만나볼 수 ...